Apple'ın elektrikli sürücüsüz otomobilinin 2024 yılında tanıtılabileceğini ve daha çok araç içi deneyime odaklanacağını geçtiğimiz Aralık ayında sizlere aktarmıştık. Apple'ın elektrikli ve sürücüsüz bir otomobil üreteceği uzun yıllardır teknoloji dünyasının gündemindeydi. Apple Car ile ilgili ilk patent ise 2017 yılında alındı. Bugün ise daha önce Apple tarafından alınan patentlere göre Apple Car'da bulunabilecek 6 potansiyel özelliğe yakından bakacağız.
Head-Up Display
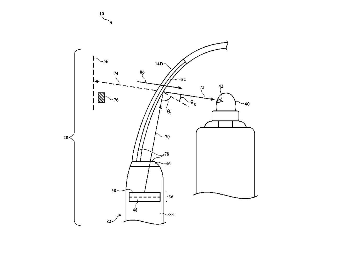
Apple tarafından alınan bu patente göre otomobilin ön camına holografik olarak görüntü aktarılabilecek. US Patent 10,866,414 B2 patentine göre hem ön cama hem de diğer cam yüzeylere görüntü aktarımı yapılabilecek. Söz konusu görüntülerde ise araç ve yol durumu ile ilgili bilgilerin yer alması bekleniyor. Alınan patent "System with Holographic Head-Up Display." olarak adlandırılmış durumda. Head-Up Display özelliği günümüzde de üst seviye otomobillerde yer alıyor. Apple'ın bu teknolojiyi nasıl farklılaştıracağı ise merak konusu.

Gizli dokunmatik kontroller
US Patent 10,656,777 B1 numaralı ve "Concealed User Interfaces." isimli bir patente göre araç içinde yer alan kontrol özellikleri hem dokunmatik hem de fiziksel olarak koltuklar, kapılar ve diğer yüzeylerde gizlenmiş olarak yer alabilir. Araç içindeki kişiler kontrolleri kullanmak istediklerinde dokunmatik tuşlar aktifleşecek ve böylelikle hem fonksiyonel hem de şık bir kontrol sistemi olacak.

Yol / taşıt tutması için çözümler
Yol / taşıt tutması (Motion sickness) sorunu yaşayanlar için çözümler geliştiren Apple, US Patent 10,825,255 B2, "Augmented Virtual Display." patenti ile bu problemi ortadan kaldırmayı hedefliyor. Apple, artırılmış / sanal gerçeklik gözlüğü özelliği ile kullanıcılarına daha konforlu bir yolculuk deneyimi vadedecek.

Akıllı pencere renklendirme sistemi
US Patent 10,843,535 B1 "System and Method for Dynamic Privacy and Window Tinting." isimli patent ile ilgili çok detaylı bir bilgi paylaşılmasa da bu patent ile birlikte araç içinde yer alan camların "akıllı" bir şekilde renk değiştirebileceğinden bahsedilmiş. Büyük ihtimalle güneşe veya dış etkenlere göre camlar akıllı bir şekilde daha koyu veya daha açık bir renk sunacak.

Sürücüler için yeni uyarılar
Otomobil, yol durumu ve yakınlarda bulunan diğer araçlar ile ilgili sürücülere detaylı bilgiler sunacak. "Wireless Vehicle System for Enhancing Situational Awareness." isimli patente göre sürücülere "ambulans geçiyor" ve "sağ taraftan araç geçiyor" gibi uyarılar da verilecek.

Yeni klima sistemi
US Patent 10,875,380 B2, "Climate Control." patenti ile birlikte Apple Car kullanıcılarına yeni bir klima kontrol sisteminin sunulması bekleniyor. Patente göre araç içinde optimum hava koşulları için çeşitli çözümler sunulacak.
