Apple, parmak izini ekranın altından okuyabilecek patent için başvurdu

Apple, parmak izini ekranın altından okuyabilecek patent için başvurdu

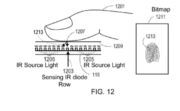
Uzun zamandır yeni gelecek iPhone modellerinde fiziksel tuş olmayacağı konuşuluyordu, bugün gelen patent haberleriyle fiziksel ev tuşuna veda edeceğimiz neredeyse kesinleşti. Apple'ın parmak izi sensörünün ekranın altına taşımak için patent başvurusunda bulunduğu Amerikan marka ve patent ofisi tarafından duyuruldu.

İlk olarak 2014 yılında LuxVue şirketi bu patent için başvurmuş akabinde ise şirket Apple tarafından satın alınmıştı. Bu teknoloji sayesinde Apple'ın Touch ID kullanmayı tamamen bırakabileceği de konuşulanlar arasında. Tabii ki patent için başvurulmuş olsa da bu teknolojinin yeni iPhone modellerinde kullanılıp kullanılmayacağı henüz Apple tarafından açıklanmadı. Hatırlatmak gerekirse iPhone'nun 10. yılında LCD'yi terk edip OLED ekrana geçiş yapması beklenen Apple'ın 2017 yılı içerisinde 3 farklı iPhone modeli tanıtması bekleniyor.

Teknoloji dünyasındaki gelişmeleri takip edin. Neleri size ulaştırmamızı istersiniz?
Abonelik kaydınız başarıyla oluşturuldu.