Microsoft, giyilebilir teknoloji alanındaki varlığını sensörlerle donatılmış yapay zeka destekli bir sırt çantasıyla güçlendiriyor. Microsoft'un patent başvurusu, geçtiğimiz hafta ABD Patent ve Marka Tescili Ofisi tarafından onaylandı.
Söz konusu patent başvurusu ilk olarak MSPowerUser blog tarafından keşfedildi. Çantanın sıra dışı özellikleri dikkat çekti. Bu özellikler arasında çantanın kullanıcının konuşmasını tanıması ve Siri benzeri önerilerde bulunması yer alıyor. Ayrıca çanta sesi kaydedip bu kaydı depolama özelliğiyle de öne çıkıyor.
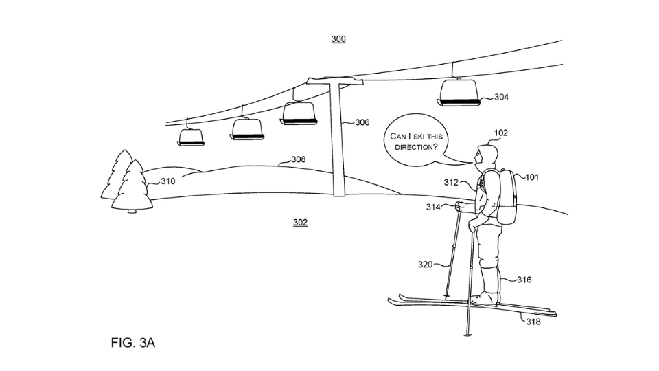
Bunlara ek olarak sırt çantası, etrafındaki objeleri tanımlayabilecek, kullanıcıya yol tarifi yapabilecek, buluta bağlanacak ve diğer akıllı cihazlarla iletişim kurabilecek.

Patent başvurusu kapsamında bu yeni çantanın olası çizimlerine de yer verildi. Çizimler, çantayı yol tarifinde bulunurken ya da konser bileti alırken resmediyor.

Şimdiye kadar pek çok kez akıllı çanta tasarımlarıyla karşılaştık. 2020 yılında başarısız bir Indiegogo kampanyasıyla gündeme gelen yapay zeka destekli BaqPaq de bunlardan biriydi. Microsoft'un patent başvurusunda yer verdiği özelliklerin büyük bir kısmı BaqPaq ekibi tarafından da dile getirilmişti. Her ne kadar BaqPaq ekibi bu fikri hayata geçirmekte zorlansa da OpenAI'ın yatırımcısı Microsoft, patent başvurusunu gerçek bir ürüne dönüştürebilir.
Görünen o ki şirket, yapay zeka destekli asistanları, kendi ürün setinin ötesinde giyilebilir ürünlere entegre etmeye kararlı. Bu gidişle, yapay zeka destekli giyilebilir ürünlerin önümüzdeki dönemde daha fazla karşımıza çıkmaya başlayacağını söylemek mümkün.
İlk Yorumu yazmak ister misiniz?
Yorum Yazmak için Giriş Yap